???? 18 ????? 2015/????? ????? ??????? ???????/???? ????? ????? ?????? ?? ???? Thoth Technology ??????? ???? ????? ???? ????? ???? ??????? ????? 20 ???????? ?????? ?? ???? ?? ??? ????? ???????? ??.
????? ????????? ??? ???? ???? ?????? ????????? ?????? ??????? ????? ???? ??????? ??? ??? ?????? ???? ??? ?? ????????????? ?? ??? ????? ???????? ????? ??????. ???? ????? ?? ???? Thoth Technology ?? ?????? ??????? ?????? ???? ?????? ??? ?????? ??? ?????? ?????? ??????.
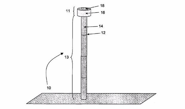
????? ??????? ?????? ??????? ?"??? Thoth X"? ??? ?? ???? ????? ???????? ???? ????? ?????? ???? ??????. ??? ??? ????? ??? ?????? ?????? ?????? ????????.? ???? ??????? ??? ?? ?????? ???? ?? ???? ?????? ?????? ?????? ????? ????? 10 ?? ?? ???????. ???? ??????? ?? ?????? ???? ?? ??????? ???? ?? ????? ?????? ??????????? ??? ??? ????? ???????? ?? ???? ????? ?????? ?????.
???? ??????? ?? ?????? ????????? ??? ???? ???? ????? ????? ??? ??????? ?? ????? ????? ?????? ???????? ????? ???? ????? ????? ?????? ???????? ???? ??????.
![]() |
?????? ????? ????? ????? ????? ??????? ??? ???? ????
????? ?????? ?????? ?? ??????? ?????? ??70 ??????? ????? ???????? ???????
????? ?????.. ????? ????? ?? ???? ?????
?????? ??????? ?? ???? ????? ??????? ?? ???? ?????? ?? ????? ?????? ???? ????????? ????????
??????: ??? ?????? ??????? ??? ????? ?????? ??????????
??????? ??????? (?????? ) .. ???? ????? ??????? ???? ?????? ?????? ???????
??????? ???? ??? "????? ?????" ???????? ?? ??????
??????? ???10 ?????? ?????? ????? ?????? ????? ?? ?????
??? ??????: "??? ????? ?????" ????? ?????
??????? ???????? "???? ????" ?????? ????? ???? ????? ??? ???? ????? ??????
?????? ????? ????? ?????? ??????
23 ????? ???????..??? ?????? ???? ???? ????? ????????
"??? ??????" ???? ???? ???? ?? ????? ??????? ?????? ?? ????
????? ?????? ?????????? ??????? ?????? ??????? ???? ????? ??????
??? ???????: ??????? ????? ??????? ???? ????? ???? ???? ??? ?????? ?????? ??? ??????????? ???? ????? ??????
???????: 010-65363696 ????:010-65363688 ?????? ?????????? Arabic@people.cn